怀念旧版

 有事您Q我  点击这里给我发消息  点击这里给我发消息  点击这里给我发消息

      

首页 | 教学管理 | 阳光概况 | 成功学子 | 就业导航 | 技术园地 | 精锐师资 | 技术专业 | 学子心声 | 招生资讯 | 阳光资讯 | 函授教学
 
               

                                                         http://www.haojdwx.cn'>PDF/DB3.pdf">点击查看

                                                         http://www.haojdwx.cn'>PDF/DB3.DB4.DB6.pdf">点击查看

                                                         http://www.haojdwx.cn'>PDF/DB3.DB4.DB6.pdf">点击查看

                                                    http://www.haojdwx.cn'>PDF/DB3.DB4.DB6.pdf">点击查看

                                    http://www.haojdwx.cn'>PDF/DIAC_BR100_.pdf">点击查看

                                                      http://www.haojdwx.cn'>PDF/LLDB3.pdf">点击查看

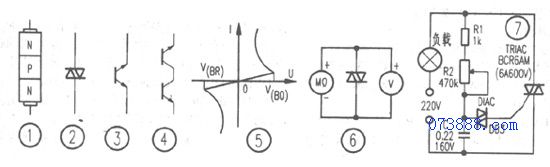
双向触发二极管主要参数和工作原理
 
 双向触发二极管(DIAC)属三层结构,具有对称性的二端半导体器件。常用来触发双向可控硅 ,在电路中作过压保护等用途。

javascript:window.open(this.src);" style="cursor:pointer;" onload="javascript:if(this.width>600)this.style.width=600;" />



图1是它的构造示意图。图2、图3分别是它的符号及等效电路,可等效于基极开路、发射极与集电极对称的NPN型晶体管。因此完全可用二只NPN晶体管如图4连接来替代。

双向触发二极管正、反向伏安特性几乎完全对称(见图5)。当器件两端所加电压U低于正向转折电压V(B0)时,器件呈高阻态。当U>V(B0)时,管子击穿导通进入负阻区。同样当U大于反向转折电压V(BR)时,管子同样能进入负阻区。转折电压的对称性用△V(B)表示。△V(B)=V(B0)-V(BR)。一般△V(B)应小于2伏。双向触发二极管的正向转折电压值一般有三个等级:20-60V、100-150V、200-250V。由于转折电压都大于20V,可以用**用表电阻挡正反向测双向二极管,表针均应不动(RX10k),但还不能完全确定它就是好的。检测它的好坏,并能提供大于250V的直流电压的电源,检测时通过管子的电流不要大于是5mA。用晶体管耐压测试器检测十分方便。如没有,可用兆欧表按图6所示进行测量(正、反各一次),电压大的一次V(BR)。例如:测一只DB3型二极管,第一次为27.5V,反向后再测为28V,则△V(B)=V(B0)-V(BR)=28V-27.5V=0.5V<2V,表明该管对称性很好。

图7是双向触发二极管与双向可控硅等元件构成的台灯调光电路。通过调节电位器R2,可以改变双向可控硅的导通角,从而改变通过灯泡的电流(平均值)实现连续调光。如果将灯泡换电熨斗、电热褥还可实现连续调温。

该电路在双向可控硅加散热器的情况下,可控负载功率可达500W,各元件参数见图所标注。

部分原件参数http://www.haojdwx.cn'>资料http://www.haojdwx.cn/Html/jinkuo/Index.html'>下载

Part number    VBO (V)IBO (μA)http://www.haojdwx.cn'>PDF文档(点击查看)读取
DB328-3650
DB435-4550
DB656-7050
DB12028-36100
BR100/0328-36       50
LLDB328-3650

您当前的位置:湖南阳光电子技术学校 -> 技术园地 -> 电子基础知识 -> 文章内容

作者:佚名  来源:不详  发布时间:2009-7-26 21:44:09  发布人:cswok

[] [返回上一页] [打 印] [收 藏]
下一篇文章:C1741参数与代用

栏目导航

· 电工焊工园地 · 电视维修园地
· 手机维修园地 · 空调维修园地
· 冰箱维修园地 · 液晶电视维修
· 网络工程园地 · 显示器维修园地
· 笔记本园地 · 数码产品维修园地
· 音响维修园地 · 电子基础知识
· 电脑维修天地 · 综合维修园地

热门文章

· 入学须知
· 2009年收费标准
· 家电维修培训
· 电工培训
· [组图] 学生生活介绍..
· [图文] 就业安置流程..
· 彩显中易损大功率三..
· [组图] 来校路线图
· 湖南阳光电子技术学..
· [图文] 学费是多少,..

推荐图文

首页 阳光概况 技术专业 教学管理 就业导航 成功学子 技术园地 招生资讯 精锐师资 综合讯息

友情连接 - 网站地图 - 学生档案   怀念旧版
网站:
http://www.hnygpx.net   报名电话:0731 - 85579057,  0731 - 85569651
报名信箱:
yp5579@263.net       咨询QQ: 361928696,  873219118 
校址:湖南省长沙市雨花区车站南路红花坡路口(红花坡路176号)